注意:因为学习平台题目是随机,选择题选项也是随机,一定注意答案对应的选项,同学们在本页按“Ctrl+F”快捷搜索题目中“关键字”就可以快速定位题目,还是不懂的话可以看这个:快速答题技巧
一、2025年秋江苏开放大学机械制图第三次作业单选题答案
1、最小极限尺寸减去基本尺寸所得到的代数差为()
A、下偏差
B、上偏差
C、基本偏差
D、实际偏差
正确答案:A
2、判断剖视图的种类。下列视图是()。

A、半剖视图
B、全剖视图
C、局部剖视图
D、都不是
正确答案:B
3、普通螺纹的特征代号为()。
A、B
B、Tr
C、M
D、G
正确答案:C
4、梯形螺纹的特征代号为()。
A、B
B、G
C、Tr
D、M
正确答案:C
5、轴套类零件属于()。
A、标准件
B、不知道
C、常用件
D、一般零件
正确答案:D
6、轮盘类零件属于()。
A、常用件
B、标准件
C、不知道
D、一般零件
正确答案:D
7、箱体类零件属于()。
A、常用件
B、一般零件
C、标准件
D、不知道
正确答案:B
8、在公差配合中,国家标准将配合分为:()
A、间隙配合、过盈配合和混合配合。
B、间隙配合、过渡配合、过盈配合。
C、间隙配合、过渡配合、混合配合。
D、间隙配合、过渡配合、过盈配合和混合配合。
正确答案:B
9、螺纹的基本要素有()。
A、牙型、公称直径、线数、旋向
B、牙型、公称直径、线数、螺距与导程、旋向
C、牙型、公称直径、螺距与导程、旋向
D、牙型、线数、螺距与导程、旋向
正确答案:B
10、叉架类零件属于()。
A、不知道
B、一般零件
C、常用件
D、标准件
正确答案:B
11、

是()
A、基孔制的间隙配合
B、基轴制的过盈配合
C、基轴制的过渡配合
D、基孔制的过渡合
正确答案:A
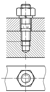
12、判断下列图是什么连接。()

A、不知道
B、螺栓连接
C、螺钉连接
D、双头螺柱连接
正确答案:D
二、2025年秋江苏开放大学机械制图第三次作业填空题答案
1、视图包括基()、(),(),()
正确答案:基本视图;向视图;斜视图;局部视图
2、按剖切范围分,剖视图可分为(),(),()三类
未经授权,禁止转载,发布者:形考达人
,出处:https://www.xingkaowang.com/29864.html
免责声明:本站不对内容的完整性、权威性及其观点立场正确性做任何保证或承诺!付费为资源整合费用,前请自行鉴别。
免费答案:形考作业所有题目均出自课程讲义中,可自行学习寻找题目答案,本站内容可作为临时参考工具,但不应完全依赖,建议仅作为辅助核对答案的工具,而非直接使用!